Fluid Pump – FMC (JT) Fluid End components Begins With S/N: 2W0856 JT8020
- Quality assurance
- Fast shipping from DE stock
- Secure Payments
Guaranteed safe checkout
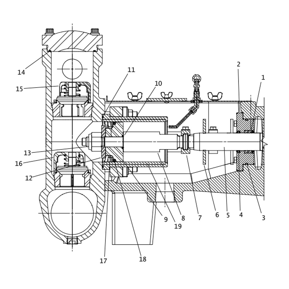
| REF. NO. | PART NUMBER | QTY | DESCRIPTION | REMARKS |
|---|---|---|---|---|
| 499-450 | VALVE KIT (M14) | INCLUDES REF NO. 14, 15 AND 16 | ||
| 191-214 | PISTON / CYL. REPLACEMENT KIT | INCLUDES REF NO. 10, 11, 13, 17, 18 AND 19 | ||
| 191-215 | PISTON REPLACEMENT KIT | INCLUDES REF NO. 10, 11, 17 AND 18 | ||
| 1. | 157-275 | 3 | PLUNGER ROD SEAL (U-CUP) | |
| 2. | 499-457 | 3 | PLUNGER ROD SEAL HOUSING | |
| 3. | 157-302 | 3 | O-RING (2-244) | |
| 4. | 157-274 | 3 | PLUNGER ROD SEAL (SCRAPER) | |
| 5. | 499-456 | 3 | CROSSHEAD | |
| 6. | 499-458 | 3 | DEFLECTOR SHIELD | |
| 7. | 499-455 | 3 | PLUNGER CLAMP | |
| 8. | 499-454 | 3 | PISTON ROD | |
| 9. | 499-452 | 3 | PISTON HOLDER | |
| 10. | 157-069 | 3 | O-RING (215 D90) | |
| 11. | 157-269 | 3 | O-RING (-249 D90) | |
| 12. | 499-453 | 3 | PISTON RETAINER | |
| 13. | 107-794 | 3 | LOCKNUT (1″ NC) | REPLACE WITH NEW WHEN REMOVED. TORQUE TO 250 FT LBS. |
| 14. | N/A | O-RING (-245 D70) | ||
| 15. | N/A | DISCHARGE VALVE | ||
| 16. | N/A | SUCTION VALVE | ||
| 17. | N/A | PISTON | ||
| 18. | N/A | WEAR RING | ||
| 19. | 500-1421 | CYLINDER SLEEVE | ||
| NOT SHOWN: | ||||
| 157-272 | 2 | OIL SEAL | ||
| 157-271 | 1 | O-RING (-373 D70) | ||
| 157-268 | 1 | BACK COVER GASKET | ||
| 499-451 | VALVE PULLER (M14) | |||
| 499-394 | 1 | SIGHT GAGE | ||
Only logged in customers who have purchased this product may leave a review.

Reviews
There are no reviews yet.